Сиденье 276.5020.68.00.000-1-01
Облицовка 702МВ.84.00.000
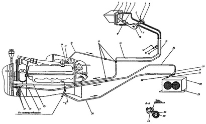
Вентиляция и отопление кабины 750.81.00.000-01
Вентиляция, отопление и кондиционирование кабины 225.6010.81.00.000
Электрооборудование 702МБ-01.37.00.000-1
Электрооборудование кабины 702МБ-01.37.99.000
Электрооборудование кабины УДМ, ПК-6
Щиток приборов 702МВ.38.05.000-01
Щиток приборов УДМ и ПК-6
Установка гpуза балластного (противовеса) на подмоторную полураму 276.5020.47.05.000
